Sprache: DE
Beratung
Ihre Offerte 0
    Details
      • Nein
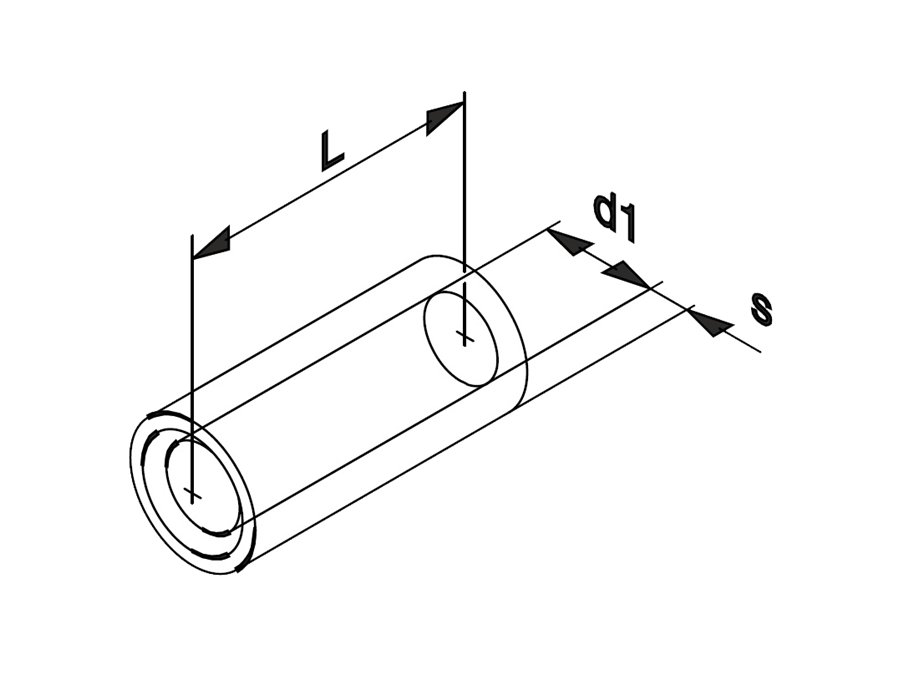
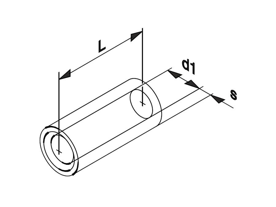
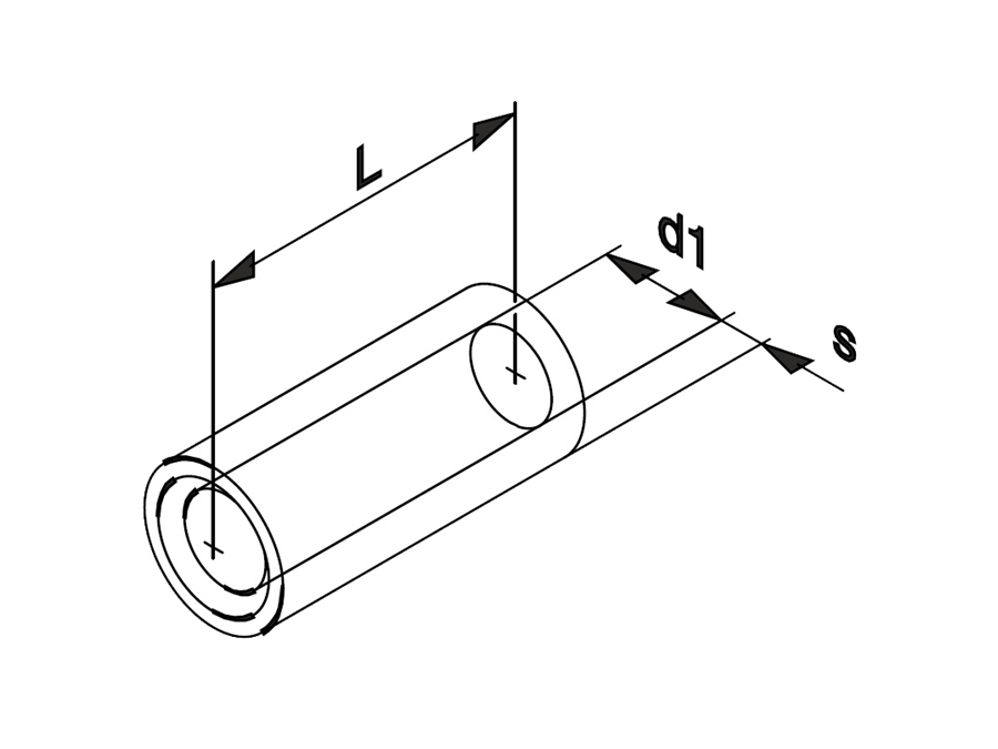
      • 0.1-0.5 mm2 AWG 26-22
      • 524
      • verzinnt
      • ohne
      • 0.4/1.2/0/0/0/5.0 mm
      • Parallelverbinder
    Technische Unterlagen

    Varianten

    zurück